Welcome to RADUGA chat!.

We will answer you as soon as possible 👇

Callback Open line Telegram MAX

Round conical upright supports RCSu

ОККп

Select modification
Request a price
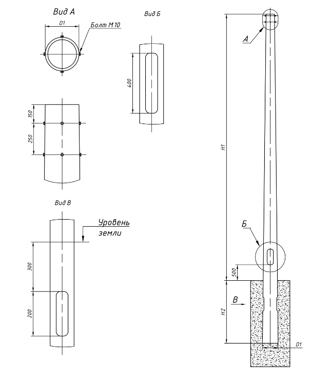
The faceted conical supports are used in urban and suburban lighting systems for mounting luminaires of any type. The installation of lighting equipment is performed directly or using various brackets and adapters. The upright supports are installed in the ground and then poured with concrete. The supply cable is supplied exclusively underground (version 02). For maintenance, an inspection hatch is provided at the bottom of the support.

ATTENTION: the use of supports of this series as load-bearing structures is not allowed!
Marking example: RCSu(60)-5.0-6.5-01

RCSu – round conical upright support
60 – upper support diameter
5.0 – above-ground part of the support
6.5 – overall size of the support
02 – internal method of supplying the power cable (aerial supply of the power cable in supports of this type is not allowed)
g – coating by hot-dip galvanizing according to GOST 9.307-2021.
co – powder coating method according to GOST
gco – hot-dip galvanizing + powder coating
Name Support parameters
Масса Ф H H1 H2 D1 D2
RAD-ОККп(60)-5,0-6,5-02 44 Ф2 6500 5000 1500 60 125
Add to cart
RAD-ОККп(60)-6,0-7,5-02 53 Ф2 7500 6000 1500 60 135
Add to cart
RAD-ОККп(60)-7,0-9,0-02 89 Ф2 9000 7000 2000 60 150
Add to cart
RAD-ОККп(76)-8,0-10,0-02 121 Ф4 10000 8000 2000 76 176
Add to cart
RAD-ОККп(76)-9,0-11,0-02 171 Ф4 11000 9000 2000 76 186
Add to cart
RAD-ОККп(76)-10,0-12,0-02 194 Ф4 12000 10000 2000 76 196
Add to cart

About the product


The supports of this series are designed for utilitarian lighting of any objects. Brackets and adapters for mounting lighting fixtures are installed on the supports. The use of supports of this series as load-bearing structures is strictly prohibited.

Design


The supports of this series are made of high-quality rolled steel - in accordance with GOST 10704-81 from leading Russian manufacturers. The steel grade is selected depending on the climatic region of operation and the load on the support, taking into account the safety factor, in accordance with the current SP 16.13330.2017.

Coating


The anti-corrosion coating is applied by hot-dip galvanizing in accordance with GOST 9.307-2021, which ensures the safety of the product for 25-30 years of operation. The support can be treated with a decorative paint coating (or powder painting, at the request of the customer) in accordance with the requirements of the current GOST 9.032-74. The basic design of the support DOES NOT IMPLY a layer of decorative coating.

Installation of supports


The faceted conical supports of the RCSu series are designed for installation in the ground, with mounting on the support of brackets for various types of lamps or park lamps of various manufacturers and modifications.

Installation of lighting equipment


It is possible to install almost any type of luminaire on RCSu supports, either directly or using brackets. In each case (depending on the customer’s needs), an individual method of connecting the power cable to the lighting fixture is developed.

Method of supplying the power cable


For supports of this series, the supply cable can only be supplied underground (version 02). When supplying the cable underground to the support, an inspection service hatch is made in its lower above-ground part. The supports of this series are strictly prohibited from being used as power structures. For these purposes, supports of the RCFSsf series are used.

The manufacturer reserves the right to make changes that do not impair the quality of the product in the design of individual parts, assemblies and parameters of the lamp without prior notice.

Individual Request

We are constantly expanding our product range so that with the help of RADUGA™ luminaires our customers and partners can find a solution to even the most complex and non-standard tasks.

Order

We are constantly expanding our product range so that with the help of RADUGA™ luminaires our customers and partners can find a solution to even the most complex and non-standard tasks.

Subscribe to newsletter

Submit request

Обучение

Хотите пройти небольше обучение
по конфигуратору?